MBB F 1500 L
With the appropriate auxiliary equipment, this crane becomes a multi-functional work machine
- The tail lift for variable applications in distribution transport with different loading requirements
- 1,500 kg lifting capacity with 600 mm load distance
- Two lifting cylinders with reinforced parallel beams
- All-aluminium platform for easy folding and unfolding
- Three-piece underride guard
- Also available without rear-end section (RS) for refrigerated vehicle body applications
- Large selection of special equipment available.
Experience The Product Features

PLATFORM STANDARD
- AluLite 30/40/40S – platform
- Ground rollers
- Warning flags red/white or black/yellow
- LED warning lights
- Protection bars for warning lights, pair
- Roll protection
OUTSIDE
- Aluminium platform with wet-painted rearside, with or without tip (in a RAL colour)
- Aluminium platform anodised (up to 2000mm height)
OPERATION STANDARD
- 3+1 controls (instead of control box)
- 4-button control planel, slim, for internal installation (as further control device)
- Foot controls integrated in platform (as further control unit)
- 2-button wanderlead hand control w/o plug (as further control device)
- 3-button wanderlead hand control w/o plug (as further control device)
- Radio remote control RCBT (standard set) SN2050730
- Radio remote control Akerström
- Key switch or turning switch, lockable (not possible with MBB 3+1 and MBB 3+3+1 controls)
LIFTING GEAR STANDARD
- Cylinders with protection bellows and tubes
- All steel components in KTL
- Vehicle specific mounting brackets
- Lifting gear powder-coated (in RAL9011 or NOVA grey)
- Provision for ball-head coupling installation MBB PTC 750 L / S & PTC 1000 LLW (incl. central support)
INSIDE
- Increased anti-slip resistance R13 (for Aluminium platforms)
- Plastic coating for platforms (incl. coated roll-stops) per m²
Technical Data
| Platform type | alu |
| Platform width | 2000 |
| platform height | 1210 |
| Dead Weight | 305 |
| Dead Weight | – |
The specified weights apply to the lightest platforms of the corresponding height. Dimensions may vary. Subject to technical changes, errors and translation mistakes.
| a (mm) | Q (kg) |
| 600 | 1500 |
| 720 | 1250 |
| 900 | 1000 |
| 1200 | 750 |

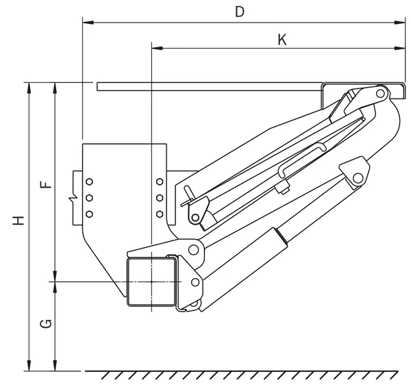
| Lift arms (in mm) | 900 m. HA | 900 o.HA | 1000 o.HA |
| H (max.) Loading height unloaded | 1455 | 1420 | 1560 |
| H (min.) Loading height loaded | 1085 | 1080 | 1125 |
| F (max.) Middle of main beam to upper edge of loading floor | 815 | 850 | 900 |
| K (min.) at dimension F (max.) | 841 | 812 | 915 |
| D (min.) Installation space (min.) | K+340 | K+340 | K+340 |
| F (min.) | 685 | 680 | 705 |
| K (max.) at dimension F (min.) | 958 | 970 | 1070 |
| G (max.) Unloaded (middle of main beam to ground) | 640 | 570 | 660 |
| G (min.) loaded | 400 | 400 | 420 |
| E (max.) Vehicle frame width (max.) | 980 | 980 | 980 |
| E (min.) Vehicle frame width (min.) | 650 | 650 | 650 |






