MBB C1000 L
TAIL LIFT
- Universal eco mounting brackets for multiple different vehicles
- Three-piece underrun protection device
- Ball head coupling available (retrofit must be welded)
- Available with AluLite 30/40L or Ferrostar (steel) platform
Technical Data
| Lifting capacity | 1000 kg |
| Main beam | 180 x 180 mm |
| Lifting gear hydraulics | 2 lifting cylinder / 2 tilting cylinder |
| Platform overlap with floor | – 44 mm |
| Lift arm pitch /Lift arm length | 1,100 / 1,320 |
| Load centre – lengthwise | 600 mm |
| Load centre – across center | Central 50% of rated load on one side |
| Inclination angle of the platform | +90° to -10° |
| Platform type | alu | alu | alu | steel | steel | steel |
| Platform width | 2400 | 2400 | 2400 | 2400 | 2400 | 2400 |
| platform height | 1600 | 1700 | 1825 | 1509 | 1209 | 1809 |
| Dead Weight | 282 | 289 | 295 | 357 | 312 | 402 |
The specified weights apply to the lightest platforms of the corresponding height. Dimensions may vary. Subject to technical changes, errors and translation mistakes.
| a (mm) | Q (kg) |
| 600 | 1000 |
| 750 | 800 |
| 950 | 600 |
| 1400 | 400 |

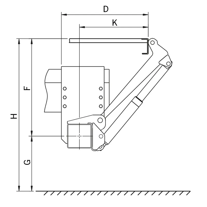
| Lift arms (in mm) | 600 | 700 |
| H (max.) Loading height unloaded | 1100 | 1210 |
| H (min.) Loading height loaded | 750 | 830 |
| F (max.) Middle of main beam to upper edge of loading floor | 620 | 650 |
| K (min.) at dimension F (max.) | 467 | 592 |
| D (min.) Installation space (min.) | 617 | 742 |
| D (max.) Installation space (max.) | 802 | 871 |
| F (min.) | 420 | 500 |
| K (max.) at dimension F (min.) | 652 | 721 |






