MBB C 750 L
- Torsion-resistant two-cylinder lifting mechanism (main-beam concept) with parallel movement to the floor
- Simple installation thanks to bolted mounting plates
- Mounting plates interchangeable with C 750 S for stocking purposes
Available for:
- Mercedes-Benz Sprinter 3/5
- Volkswagen Crafter 30 /35 /50
- Iveco Daily (C-Profile) 35C-72C
- Citoen Jumper (Relay)
- Fiat Ducato / Pugeot Boxer
- Ford Transit 330-470 V363li>
- Renault Master X62 FWD/RWD
- Further vehicle types on request
Technical Data
| Lifting capacity | 750 kg |
| Main beam | 120 x 80 x 5 mm |
| Lifting gear hydraulics | 2 lifting cylinder / 2 tilting cylinder |
| Platform overlap with floor | – 44 mm |
| Lift arm pitch /Lift arm length | 460 / 1120 / 1240 |
| Load centre – lengthwise | 600 mm |
| Load centre – across center | Central 50% of rated load on one side |
| Inclination angle of the platform | +90° to -10° |
| Platform type | alu | alu |
| Platform width | 2100 | 2100 |
| platform height | 1450 | 1600 |
| Dead Weight | 210* | 216* |
| Dead Weight | – |
The specified weights apply to the lightest platforms of the corresponding height. Dimensions may vary. Subject to technical changes, errors and translation mistakes.
| a (mm) | Q (kg) |
| 600 | 500 |
| 700 | 430 |
| 820 | 360 |
| 1120 | 260 |
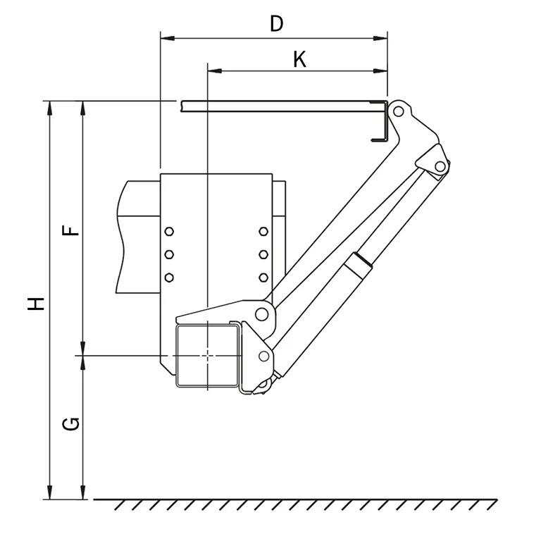
| Lift arms (in mm) | 900 |
| H (max.) Loading height unloaded | 1554 |
| H (min.) Loading height loaded | 1225 |
| F (max.) Middle of main beam to upper edge of loading floor | 924 |
| K (min.) at dimension F (max.) | 655 |
| D (min.) Installation space (min.) | 846 |
| D (max.) Installation space (max.) | 921 |
| F (min.) | 860 |
| K (max.) at dimension F (min.) | 730 |
| G (max.) Unloaded (middle of main beam to ground) | – |
| G (min.) loaded | – |
| E (max.) Vehicle frame width (max.) | – |
| E (min.) Vehicle frame width (min.) | – |






